8543 Power


Power Management:
Suspend/resume
   An application is suspended by closing the clamshell leaving the power switch on.  When the clamshell is opened, the application resumes at the point it was suspended.  During suspension system components are automatically powered off except for the real time clock and application memory.  The system can be set to resume at a specific time of day.
Internal backup battery  Change the battery pack without disrupting the application.
Trickle Charge trickle recharging occurs during AC operation.
Manual vs. Automatic Mode
   You can use the "A-M" switch on the left side of the top cover to select manual or automatic mode.  In automatic mode, the hardware initiates low clock speed operation during idle periods.  In manual mode, the processor runs at the default clock speed set by the user when the system is configured.  The clock speed settings are 20, 10, and 5MHz.
Sleep mode.
        Sleep mode conserves battery power during idle times between clock cycles and key strokes by putting system components in an idle state resulting in low power usage.  Sleep mode is not operational when an external display is attached.  This function is exploited by DOS and OS/2  Application, operational, operating system, and environmental characteristics will affect actual battery duration between recharges.


8543 Power Trivia
Peter has some horrid flashbacks and recalls:
   Normally there is one cell of the whole block on the last leg. I disposed a large number of L40SX battery packs when my office moved in '96. Today I'm a bit sorry about that - I use to part out the case and fill it with "industrial standard" cells of a particular size. 

The main problems: 
a) the cells are NiCd, which are prone to "memory" problems
b) the charger circuit is crap. 
c) Users operated the L40SX permanently on the AC adapter and maybe for a few minutes on batteries ... then putting it back to the charger. That causes the memory effect and cooks the battery in the long run. 
D) The temperature sensor in the battery in most cases is not properly attached to one of the innermost cells that heat up first when charge reaches the endpoint. Thermal coupling is rather poor and the cells are permanently overcharged and overheated. Poor design to begin with. 

   IBM had various ECAs on the L40: LCD brightness, battery lifetime, Serial and Parallel port power, battery lifetime again, exploding battery chargers, isolation problems in the DC/DC converter circuit with fire hazard, shot fuses in charger circuit, runtime on batteries and how to save energy and extend the runtime on batteries. (These were the ones I recall after the many years ...)



Battery  PN 79F0197, FRU 79F0994
  Ni-Cd10.8v, 2.4 AH

Testing the Rechargeable Battery 
1. Remove the keyboard. 
2. Set the rechargeable battery in place without connecting any external power devices. 
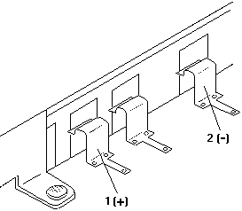
3. Measure the voltage between terminals 1 (+) and 2 (-) and note the voltage. 

 

4.  Using the AC adapter, apply external power to the computer. Make sure that a charge arrow appears in the system-status display. 
5. Measure the voltage again between terminals 

                   1 (+) and 2 (-). 

     If the voltage is not greater than the one measured in Step 3, replace the AC adapter. If the voltage is greater than the one measured in Step 3, go to the next step. 
6. Remove the rechargeable battery from the computer. 
7. Measure the voltage at the battery terminals. 

 

Pin  Voltage (Vdc)
 1     +8.5 to +12.6
 3     Ground
 

 If the voltage is not correct, the rechargeable battery is discharged or defective.  If the voltage is correct, go to the next step. 
 

8. Using a low-power ohm meter, measure the resistance at the battery terminals between 2 (T) and 3 (-). The resistance must be 4 kilohms to 30 kilohms. If the resistance is out of range, replace the rechargeable battery. 



Backup Battery PN 79F0986 Panasonic Lithium BR-2/3A 3V

Testing the Backup Battery
1. Remove the keyboard and the top cover. 
2. Measure the voltage at the connectors of the backup battery. 

Pin   Voltage (Vdc)
 1      +2.8 to +3.2 
 2      Ground 

If the voltage is not correct, the backup battery is discharged by a short circuit or is defective. 
 
 



Stand-by Battery PN 65F0225 Ni-Cd DC 3.6v 45mAH Panasonic KRM 11/16 CF. Goes on top of the blue battery shield in the little "fence" on top.

Testing the Standby Battery 
      NOTE: The charging time required is 48 hours. 

1. Remove the keyboard and the top cover. 
2. Connect the AC adapter to the computer. 
3. Disconnect the standby battery connector from the system board and measure the voltage at the connector of the standby battery as shown. 

    Pin      Voltage (Vdc)
      1           +3.0 to +4.5
      2            Ground
 

If the voltage is correct, perform the failing operation with a fully-charged standby battery to isolate the problem. 
If the voltage is not correct, continue. 
 
 

4. Measure the output voltage at the connector on the system board. 

 

If the voltage is higher than measured in Step 3, the standby battery is discharged or is defective. 
If the voltage is the same as measured in Step 3. or less than +3.0 Vdc, replace the standby battery. If the problem remains,replace the system board. 



Quick Charger PN 79F0193 FRU 79F0995
Input- 100-240v ac, 50/60Hz 0.5-0.3A, 35W Output 13v 1.3A
There is no deep discharge function built into the Quick charger. 

Testing the Quick Charger 
    NOTE:  If a noise can be heard from the operating quick charger, replace it. 
1. Perform steps 6 through 8 in 'Testing the Rechargeable Battery', to verify the rechargeable battery for correct operation. 
2. Plug the quick charger into an electrical outlet. If the amber power indicator does not turn on, replace the quick charger. 
3. Install the rechargeable battery. If the green charging indicator is not blinking, replace the quick charger. 



AC Adapter                              79F0993 
Car Adapter                             06G9206 

Testing the AC Adapter 
1. If a noise can be heard from the AC adapter when it is plugged into line voltage, replace the AC adapter.  If a noise still comes from the AC adapter, suspect the computer. 
     If not, the AC adapter has a problem.  Replace the AC adapter with the original one, then go to the next step. 
2. Measure the output voltage at the plug of the AC adapter cable. 

 Pin      Voltage (Vdc)
   1         +14.3 to +15.8
   2          Ground

 If the voltage is not correct, replace the AC adapter. 
 
 

  The A/C adapter plugged into the L40,  but the battery icons indicate that the battery is still being drained.  The A/C adapter is plugged into both the wall and the L40.  Do I have a bad battery? 
  There is a third connection to double-check: the plug from the L40 to the A/C adapter.  It may have worked its way loose. 

Peter Sez:
   Ah ... it is 15V DC, 2.7 Amps, center positive, outer diameter 1/4" (6.25mm), inner diameter 1/8" (3mm). 

Aron replies
  Peter, that's very close - the size is 6.3mm outer, 3.0mm inner (it's a
standard plug which I think is available at Radio Shack here, and if not
then it can be ordered online from them).  The original AC adapter is
FRU 79F0993.

The L40's power use falls within the Energy Star's guidelines



When I get my L40 back together, I'll have to check these out-
Idle.exe
Pm_bios.386
Ps2.exe
Pwrmgmt.sys
 
 

9595 Main Page