8551 Power
Power Management Functions 
AC Adapter Specs 
   Testing the AC Adapter
Battery Pack Specs (External, NiCd, MiH)
   Testing the Battery Pack
   New IBM N51 Laptop Battery  FRU#: 07G1242 $ 6.95
Backup Battery Specs 
   Testing the Backup Battery
Standby Battery Specs
   Testing the Standby Battery
Testing the Quick Charger
Testing the Car Battery Adapter
Testing the Voltage Convertor


Power Management:

Suspend/Resume function  An application is suspended by closing the clamshell leaving the power switch on.  When the clamshell is opened, the application resumes at the point it was suspended.  During suspension system components are automatically powered off except for the real time clock and application memory.
Internal Backup Battery  -   Change the rechargeable battery pack without disrupting the application.
Sleep Mode   -   Conserves battery power during idle times between clock cycles and key strokes by putting system components in an idle state resulting in low power usage.  Application, operational, operating system, and environmental characteristics will affect actual battery duration between recharges.
Quick Charge    -   One and one-half hour internal quick charge during suspend or power-off with AC adapter, with or without communications cartridge attached.



AC Adapter Specs 
IBM PS/2 AC Adapter (20W)  P/N 07G1964
o   AC Adapter 100-240VAC, 50/60Hz

Testing AC Adapter 
  If the Power-On indicator is not on, check the power cord of the AC adapter for proper installation and continuity.
1. Plug AC adapter into line voltage
   If any noise can be heard from the AC adapter, replace it.
   If no noise can be heard from the adapter, go to Step 3.
2. If the noise still comes from the new AC adapter, suspect the computer. Replace AC adapter with the original one, then go to the next step. If no noise comes from the new adapter, the original adapter has the problem.
3. Unplug the AC adapter cable from the computer and measure the output voltage at the plug of the AC adapter cable.

 

Pin   Voltage (V dc)
 1   +19.0 to +21.0
 2    Ground
 

Voltage is not correct:
1. Unplug AC adapter from ac power outlet and leave it a few minutes.
2. Plug the AC adapter into the ac outlet.
3. Measure the output voltage of the AC adapter.
4. If the voltage is still not correct, replace the AC adapter.

Voltage is OK
Plug the cable into computer and try the failing operation again.
   Problem remains, replace voltage converter.
   Problem disappears, suspect install and continuity of AC adapter cable.



Battery Pack Specs
External Rechargeable Power Pack  P/N 06G9600 / FRU 07G1540
NiCd Battery Pack    P/N 07G1753 / FRU 07G1242
   o   10.8V, 1200mAH (NiCd)/cell, 9 cell/pack
NiMH Battery Pack  P/N 07G1754 / FRU 07G1244
   o   10.8V, 1400mAH (NiMH)/cell, 9 cell/pack

Testing the Battery Pack
1. Place the computer bottom-side up.
2. Remove battery pack and measure voltage between 1 (+) and 3 (N).
Pin  Voltage (V dc)
 1  +8.5 to +18.0
 2  Thermal Detection
 3  Ground
Voltage under +8.5 V dc, battery pack is 
    discharged or defective.
Voltage over +8.5 V dc, continue.

3. Using a low-power ohm meter, measure the resistance between 2 (T) and 3 (N). The resistance must be 4 kohms to 30 kohms. If resistance is out of range, replace battery pack.
4. Remove the bottom cover and set the battery pack in place without connecting any external power devices.
5. Measure voltage at the connector between terminals 1 (+) and 3 (N) on the voltage converter and note the voltage.

6. Using the AC adapter, apply external power to the computer.
Warning:  Be careful not to cause a short circuit while doing the following steps. The charging circuit is active even if the computer power switch is set to off.
7. Measure the voltage again between terminals 1 (+) and 3 (N).
   Voltage is not greater than that measured in Step 5, replace the AC
     adapter, then go to the next step.
   Voltage is greater than that measured in Step 5, the battery pack is good.
8. Repeat Steps 6 and 7 using a new AC adapter. If the voltage is still not greater than that measured in Step 5, replace the voltage converter.



Backup Battery Specs
Litium FRU 07G1225
Testing the Backup Battery
1. Place computer bottom-side up.
2. Remove the bottom cover.
3. Disconnect battery connector from voltage converter.
4. Measure the voltage of the backup battery.

 

Wire    Voltage (V dc)
Red   +2.5 to +3.7
Black  Ground
 
 

   If the voltage is correct, replace the system board. If it is not, the backup battery is discharged by a short circuit or is defective.



Standby Battery Specs 
 FRU 07G1240

Testing the Standby Battery
1. Place the computer bottom-side up.
2. Remove battery pack from computer and remove bottom cover.
3. Disconnect battery connector from voltage converter.
4. Plug AC adapter into computer and power-on computer.
5. Measure output voltage at the connector on the voltage converter.

 
 

Pin  Voltage (V dc)
 1  +4
 2  Ground
Vdc under +4 V, bad voltage converter
Vdc greater than +4 V, continue
 
 

6. Power-off the computer.
7. Reconnect the standby battery to the voltage converter.
8. Power-on computer for about 30m to allow standby battery to charge.
9. Power-off the computer again and disconnect the standby battery.
10. Measure the voltage of the standby battery.
   Voltage less than 3.5 V dc, replace standby battery.
   Voltage greater than 3.5 V dc, replace voltage converter.



IBM PS/2 Quick Charger  P/N 07G1752

Testing the Quick Charger
If an unusual noise can be heard from operating quick charger, replace it.
1. Perform steps 1 through 3 of t“Testing the Battery Pack” to verify the battery pack is operating correctly.
2. Connect the power cord to the quick charger and the other end to the electrical outlet. Ensure that the power indicator turns on.
   If power indicator does not turn on, check power cord of quick charger for proper installation and continuity. If this does not correct the problem, replace quick charger.
3. Install the battery pack.
If charging indicator does not start blinking, replace quick charger.



IBM PS/2 Car Battery Adapter   P/N 07G2004

Testing the Car Battery Adapter 
  If output voltage from a cigarette lighter socket is less than 10.5 V
dc, the power-on indicator on the car battery adapter blinks and a noise can be heard continuously. The battery of the car is defective.
1. Unplug car battery adapter from computer if connected.
2. Plug car battery adapter into cigarette lighter socket.
Note:  If the adapter is already plugged in, be sure to unplug the adapter from the cigarette lighter socket, then plug it into the socket again.
3. Measure the output voltage of the car battery adapter.

 

Pin   Voltage (V dc)
 1  +19.0 to +21.0
 2   Ground

Voltage correct and power-on indicator on car battery adapter is on steady, the car battery adapter is working correctly.

If the voltage is out of range, do one of the following. 
  Try the above test procedures in another car if available.
  Replace car battery adapter if computer works with AC adapter and does not work with car battery adapter.



Testing the Voltage Converter
   Use following procedure to isolate voltage converter from problem.
Note:  If problem occurs only when using computer with a good battery pack, replace voltage converter.
1. Power-off the computer.
2. Power-off all attached devices and disconnect them from computer.
3. Unplug AC adapter from computer.
4. Remove battery pack and bottom cover.
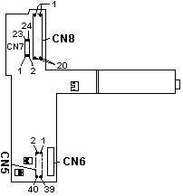
5. Disconnect standby-battery connector and flexible cable from connector CN6 on tvoltage converter.
6. Power-off the computer.
7. Plug the AC adapter into the computer.

Important  The computer goes into suspend mode in about 20 seconds after plugging in the AC adapter. The following procedure must be performed during this period. If the computer is already in suspend mode, unplug the AC adapter and plug it in again to reactivate it.

8. Check the voltages of the voltage converter using following table.


Conn Pin       Signal        VMin.    VMax.
CN5  1     VCCA      +4.9  +5.3
     3     VCCB      +4.7  +5.3
     7,8   GND         -    -
     9,10  GND         -    -
     13    +20Vdc    +19.0 +21.0
     21    POWER_GD  +4.0  +5.3
     32    POWER_ON#   0   +0.5
CN7   2    VCCG      +4.7  +5.3
     23,24 GND         -    -
All voltages are correct, the voltage converter is good.
If +20 V dc is not correct, check output voltage of AC adapter (see Testing the AC Adapter). If voltage is correct, replace voltage converter.
If any of the measured voltages except +20 V dc is not correct, replace  following FRUs one at a time to correct the problem.
  1. Voltage converter
  2. System board
  3. I/O panel assembly
Note:  Reconnect the standby-battery connector and the flexible cable that were removed in Step 5 on page 85 before leaving this procedure.

9595 Main Page